首页
关于我们
公司简介
企业文化
合作伙伴
产品中心
TENUTE
·FP· & ATS
FEY 金属密封环
VR Automotive
Beakbane
其他
新品开发
新闻动态
公司新闻
业界资讯
应用案例
联系我们
技术支持
/
全部
/
新品开发
/
其他
/
Beakbane
/
VR Automotive
/
TENUTE
/
·FP· & ATS
/
FEY 金属密封环
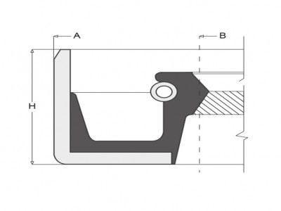
MZD
带回流线骨架油封通常用于驱动轴,单向运转
详细信息
带回流线骨架油封
通常用于驱动轴,单向运转
上一篇:MZS
下一篇:GPP
推荐
klinger 垫片
20419.497
20419.496
TR3
TR/CS
TR/P
TR/3-M
TR/3-ML
关于我们
产品中心
新闻动态
应用案例
联系我们